P300系列一体化温度变送器,热电阻是应用物质温度变化时自身电阻也随着发生变化的特性来测量温度。作为温度测量的传感器,通常与显示仪表配套用于生产过程中的温度测量与控制。直接测量各种生产过程中从-200℃~+600℃范围内的液体、蒸汽和气体介质以及固体表面的温度。具有测量精度高、测温范围宽,能远距离测量等特点。
广泛用于:石油、化工、机械、冶金、电力、船舶、轻工、食品、原子能及宇航等工业部门和科技领域。我厂生产符合国际IEC标准的铂热电阻,分度号为Pt100,具有精度高,反应快,寿命长等特点。
2、性能参数
量程特性 | |||
热电阻类别 | 分度号 | 测温范围 | 允许误差△t(℃) |
WP300铂热电阻 | Pt100、Pt50 Pt10 | -200~+600℃ | A级:±(0.15+0.002t) |
WP300铂热电阻 | -200~+450℃ | B级:±(0.30+0.005t) | |
WPC铜热电阻 | Cu50 | -50~+150℃ | ±(0.30+0.005t) |
其他特性 | |||
绝缘电阻 | 热电阻的测温元件和保护管不小于5MΩ(参考条件:温度15~35℃,相对湿度≤80%) | ||
响应时间 | 金属保护管Φ16,t<90s;Φ12,t<30s; | ||
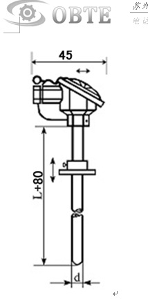
保护管材料 | 不锈钢1Cr18Ni9Ti、碳钢20#、高铝质 | ||
插入深度 | 不小于其保护管直径的8~10倍 | ||
防爆标志 | DIIBT4 | ||
3、选型指南
WP300 | 系列热电阻 | |||||
代号 | 热电阻材料 | |||||
-P | 铂热电阻 | |||||
-C | 铜热电阻 | |||||
代号 | 安装固定形式 | |||||
-1 | 无固定装置式 | |||||
-2 | 固定螺纹式 | |||||
-3 | 活动法兰式 | |||||
-4 | 固定法兰式 | |||||
代号 | 接线盒形式 | |||||
-2 | 防溅型 | |||||
-3 | 防水型 | |||||
—4 | 防爆型 | |||||
代号 | 保护管规格(用户可自定义) | |||||
-0 | Φ16mm不锈钢管 | |||||
-1 | ≤Φ12mm不锈钢管 | |||||
代号 | 保护管长度 | |||||
- | 保护管长度 | |||||
代号 | 输出形式 | |||||
-R | 电阻 | |||||
-A | 电流 | |||||
-V | 电压 | |||||
WP300 | -P | -2 | -3 | -1 | 150 | -A完整的型号 |

- 江苏苏州奥巴特尔自动化设备有限公司
- 联系人莫尤建(先生)
- 会员[加为商友] [发送信件]
- 电话
- 手机
- 地区全国
- 地址中国 江苏 苏州市吴中区 吴中区旺吴路44--46号













